加入购物车成功!
介绍:
一、 浮筒液位计产品概述
智能浮筒液位计依据力平衡原理,在早期浮筒液位计的基础上采用***新的传感结构,使传感器与杠杆机构合二为一,可直接测量浮筒在液体中所受的浮力,很好地解决了静压的影响。本仪表具有耐高温、耐高压的突出特点,为解决高温高压容器内的液位测量提供了******的方法,并且该仪表具有精度高、可靠性好、调整方便、测量范围广、经久耐用、性能价格比高等优点。适合工艺流程中敞口或带压容器内的液位、界位、密度的连续测量,广泛应用于石油、化工、电力、食品、水利、冶金、热力、水泥和污水处理等行业。该仪表符合二线制4~20mA传输协议,并有本安型、隔爆型、液晶指示型、电池型、Hart型以及多种安装形式,为用户提供了非常广阔的选择空间。另外高质量的电路及传感系统,保证了在各种应用场所的优良性能。
二、 浮筒液位计主要特点
1,三行液晶数字显示
2,耐高温高压、抗振性能好、质量稳定、性能可靠。
3,采用系列化设计,多种安装方式,实用面广,可装于各种储灌和过程罐,各种常压罐和压力容器。
4,智能化结构设计,具有参数设定、标校及故障提示功能。
5,标准的二线制4~20mA输出,无需专用二次仪表,并可与计算机连接。
6,具有温度补偿和软件修正功能。
7,具有去零功能及中间点标校功能。
三、 浮筒液位计 结构原理
1、 结构
智能浮筒液位计由浮筒、扭力管、传感器、杠杆四部分组成,如图一所示:


2、 工作原理当浮筒受到液体向上浮力F后通过浮力杆将浮力F作用到传感器上,传感器电压输出:
即:V ∝ F
因为浮筒浸没液体的高度与所受到的浮力成正比,因此,浮力的变化通过传感器电压输出就变换成对应的液体高度,并通过A/D→CPU→D/A转换成标准的4~20mA电流输出,如下图所示:
A/D模数转换 微处理器CPU |
| 按键 |
| LCD液晶显示 |
| D/A数模转换4~20mA电流输出 |
HART协议 MODBUS协议 |
| 支点 |
| 浮力杠杆 |
| 浮筒吊杆 |
| 浮筒 |
四、 HQFT-D 浮筒液位计 技术参数
测量范围:0.3~6m(特殊尺寸可订购)
精度等级:1.0 、 0.5(特殊型)
输出信号:4~20mA DC二线制,可带HART协议
供电电源:标准型:24VDC二线制4~20mA(12VDC-32VDC)
电池型:3.6V@19AH锂电池,可连续使用壹年
公称压力:***大16MPa(特殊规格可订购)
环境温度:—40℃~+85℃(液晶不会损坏)液晶正常工作—30℃~+80℃
介质温度:常温—40℃ ~100 ℃(无散热片)
高温100℃ ~200 ℃(带散热片)
超高温200 ~450 (带散热片及夹套装置)
介质密度:液位p≥0.4g/cm3
界位p1-p2≥0.1g/cm3
接液材质:测量室为碳钢或1Cr18Ni9Ti其余为1Cr18Ni9Ti
外客材质:铸铝
连接法兰:内浮筒DN30 PN4.0法兰标准DIN2501
外浮筒侧法兰DN50 PN4.0主体法兰DN50 PN4.0 法兰标准DIN2501
特殊型: 由用户选择
电缆接口:隔爆型为1/2NPT内螺纹,其它M20*1.5内螺纹
液晶显示:主屏液位显示数值范围:0-50000(可带小数点)付屏百分比显示保留一位小数
防爆标志:本安型ia‖CT5 隔爆型 d‖BT6
防护等级:IP65
负载特性:Rlmax=50*(电源电压-12) Ω =600Ω @24V
产品选型表:
产品选型表:
型号 | 规 格 编 码 | 内 容 | ||||||||||
HQFT-D | 智能浮筒液(界)位变送器 | |||||||||||
1 | 测量液位 | |||||||||||
2 | 测量界位 | |||||||||||
3 | 测量密度 | |||||||||||
A | 顶侧式安装形式 | |||||||||||
B | 顶底式安装形式 | |||||||||||
C | 侧侧式安装形式 | |||||||||||
D | 底侧式安装形式 | |||||||||||
E | 顶置式安装形式 | |||||||||||
F | 侧置式安装形式 | |||||||||||
S | 顶底S式安装形式 | |||||||||||
1 | 公称压力≤PN2.5MPa、2.0Mpa(class150) | |||||||||||
2 | 公称压力:PN4.0MPa | |||||||||||
3 | 公称压力:PN6.3MPa、5.0MPa(class 300) | |||||||||||
4 | 公称压力:PN10.0MPa、11.0MPa(class600) | |||||||||||
5 | 公称压力:PN16.0MPa、15.0MPa(class900) | |||||||||||
6 | 公称压力≤PN26.0MPa(class1500) | |||||||||||
7 | 公称压力≤PN42.0MPa(class2500)需要评审 | |||||||||||
/ | ||||||||||||
i | 本质安全型 | |||||||||||
T | 测量室材质:碳钢 | |||||||||||
H | 测量室材质:304(其它材质牌号按实际填写) | |||||||||||
L | 介质温度:-196℃≤T<-30℃ | |||||||||||
D | 介质温度:-30℃≤T<+100℃ | |||||||||||
G | 介质温度:100℃≤T≤500℃ | |||||||||||
/ | ||||||||||||
量程 | 按实际填写,默认单位mm | |||||||||||
附 加 编 码 | F | 测量室伴热,接口法兰:DN15、PN2.5RF(标配) | ||||||||||
Z | 测量室伴热,螺纹接口:R1/2(标配) | |||||||||||
W | 左式安装表头(未注W为右式安装表头) | |||||||||||
-D -□□□/□□□/量程□□ | ||||||||||||
选型举例
D -2C2/iTD/800F:为测量界位,侧侧式安装形式,公称压力4.0MPa,本质安全型智能变送器,测量室材质为碳钢,测量介质温度-30℃≤T<+100℃,量程800mm,测量室伴热为法兰接口式。
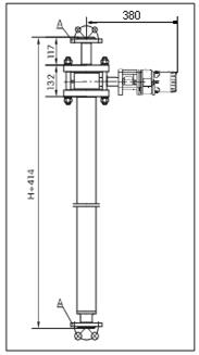
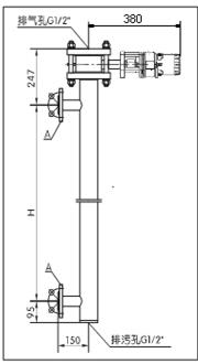
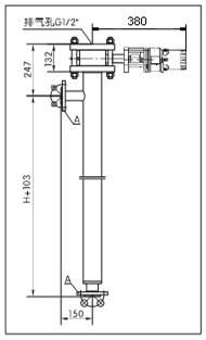
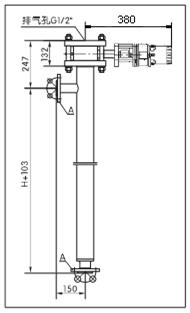
1. 结构形式及安装图
下图中的H为量程,公称压力≤PN6.3MPa 。
D -2C2/iTD/800F:为测量界位,侧侧式安装形式,公称压力4.0MPa,本质安全型智能变送器,测量室材质为碳钢,测量介质温度-30℃≤T<+100℃,量程800mm,测量室伴热为法兰接口式。
1. 结构形式及安装图
下图中的H为量程,公称压力≤PN6.3MPa 。



A 顶侧式 B 顶底式 C 侧侧式


D 底测式 E 顶置式
上一篇:无
下一篇:D型浮标液位计




